Home of the First Bullfrog Spa
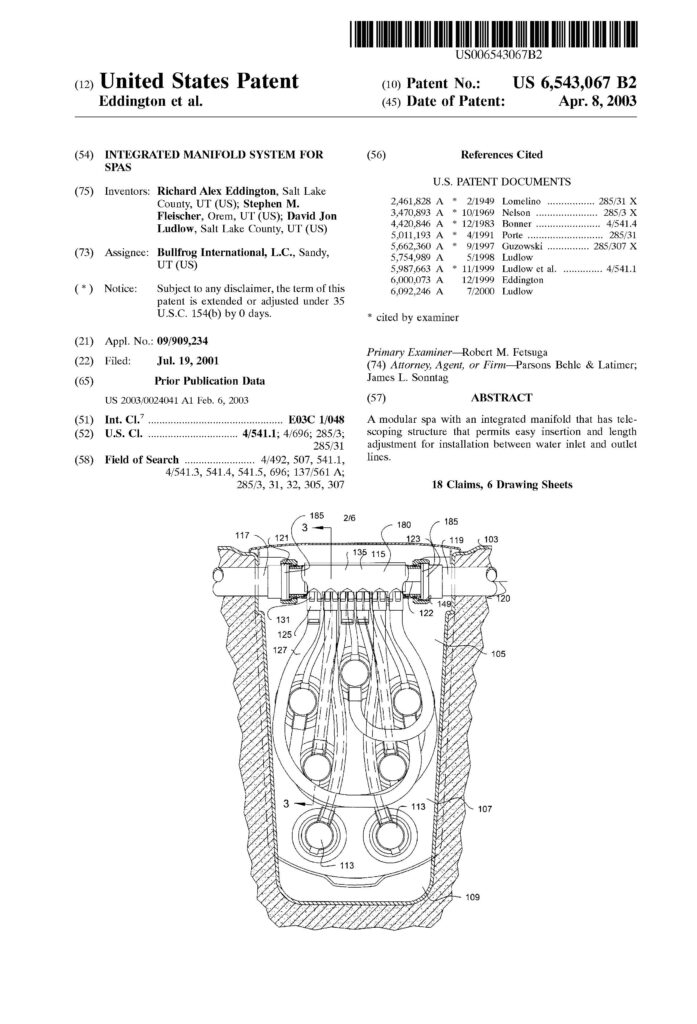
Dolphin Pools & Spas began as a family‑run pool builder in the early 1950s and quickly became Utah’s premier custom pool company. In the late 1980s, Don Ludlow’s son David saw room to improve hot‑tub design. Working from our showroom on Highland Drive, the Ludlows pioneered the JetPak Therapy System, a modular jetting design that placed most of the plumbing inside the water for greater reliability and customization. This breakthrough would become the foundation of Bullfrog Spas, and our family were among the founding members of Bullfrog Spas International.
Dolphin Pools and Bullfrog Spas
As the world’s first Bullfrog Spas dealer, Dolphin Pools introduced the original Bullfrog spa to the public. Today, Bullfrog Spas is one of the largest spa manufacturers worldwide, yet its innovative roots trace back to our Salt Lake City showroom. We continue to offer the full line of Bullfrog Spas and remain committed to the same spirit of innovation that launched the JetPak revolution.


Our Experience
Comprehensive Products and Services
At Dolphin Pools, we build luxury custom pools and spas that last a lifetime.
Whether you want a luxury pool, a custom water feature or personalized therapy spa,
we have the expertise to make it happen.
We strive to offer an unparalleled level of service and deliver
a unique and innovative solution to each of our clients pool and spa needs.
Our customer first approach is what makes us Utah's Premier Pool Builder.
Our Team

Jeff Robinson
Jeff began his career at Dolphin Pools & Spas in 2002, but got his start in the pool and spa industry in 1978 here in Salt Lake City. He performs a variety of tasks but his greatest days are spent working with clients to develop their dream yard. He is an expert at water chemistry and …READ MORE

